фото промвала, номер, ШРУС
Тема: Промежуточный вал (передний мост), Сообщение #203085, Автор: Андрей59
Тема: Промежуточный вал (передний мост), Сообщение #337437, Автор: Evgen
ШРУС с промвала снимается ударом кувалды через деревяшку (там ПРУЖИНЯЩЕЕ стопорное кольцо)
ШРУС половинится вынув внутреннее стопорное кольцо отжав пыльник
Промежуточный вал
отличаются немного исполнением, 500 и 600 разборный, 800 нет, но абсолютно взаимозаменяемы)
53270-3E500; 01.11.02 - 02.12.02
53270-3E600; 01.11.02 - 19.04.06 ... 18.09.06 - 23.01.08
53270-3E800; 23.01.08 - 11.08.09 размеры и фотографии http://photo.qip.ru/users/evgen86/150474769/
(на 800 нет крышки для смены подшипника, он сделан в неразборном корпусе, но есть стопорное кольцо подшипника для его замены)
Вот разница, слева *500 и *600, справа *800
Фото и размеры промвала 53270-3E800 так же ТУТ
САЛЬНИК промвала
Для вала 53270-3E500 и вала 53270-3E600 код сальника 49565-38700 (в пакетиках с кодами 49565-38700 и 49565-3E700 оказались абсолютно одинаковые сальники).
Для вала 53270-3E800 код сальника 49565-3E800.
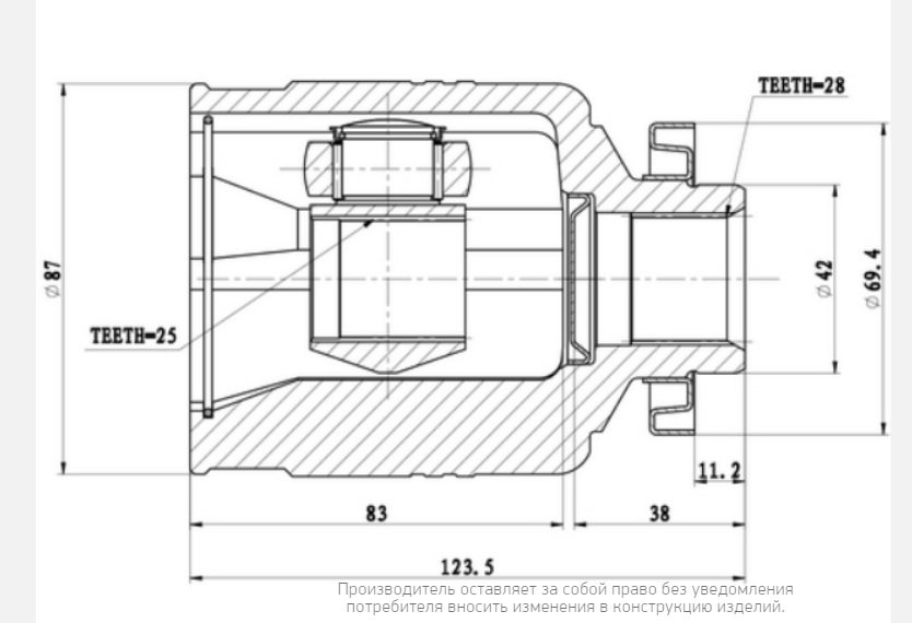
ШРУС промвала
Дорестайл
49592-3E110 = аналог ASVA KAIRSR и Febest 2211-SORRH(шлицы наружной обоймы 25 шт, внутренней - 28 шт).
49592-3E010 - внутренний правый. Шариковый с 25 шлицами на внутренней обойме и с круглым корпусом наружной обоимы.
49592-3E000 - номер внутреннего шруса с левой стороны
фотографии Тема: Промежуточный вал (передний мост), Сообщение #1032031, Автор: krasik
Для выбора правильного номера рекомендуется прочитать сообщения начиная с Тема: Промежуточный вал (передний мост), Сообщение #1027175, Автор: krasik
чертеж аналогов
Рестайл
ШРУС 49592-3E210 = аналога нет, (шлицы наружной обоймы 26 шт, внутренней - 28 шт). 49500-3E201 тоже.
Тонкости покупки ШРУСа. Пример на рестайле 2008 года. "Тоже попал на несовместимость шарниров привода по шлицам. По VIN на elcats.ru подходит и 49592-3Е110 и 49592-3Е210. Взял 110-й. В результате "старый" ведущий вал не входит в "новую" внутреннюю гранату."
Тема: Промежуточный вал (передний мост), Сообщение #718027, Автор: Каменный Гость
Кольцо стопорное промвала и ШРУСа
K G054 25 421
Способы ремонта
1) Выкинул стопорное кольцо , просверлил под м10 отверстие в шлицевом валу, и через шайбу притянул гранату, граната сидит мертво. ,Недавно менял подшипник 206 легко разобрал и собрал, вал торцевал примерно 5мм
2) Тема: Промежуточный вал (передний мост), Сообщение #407345, Автор: Ген130
3) Я купил новую палку с гранатами с дорестайла, в пром валу прокрутил отверстие на 8 с резьбой, выточил плотную по диаметру шайбу, снял фаску 2мм с пром вала, установил стопор, обмазал шлицы полимерным клеем и все это запинтюрил на место - 5 тыков - полет нормальный (тфу-тфу-тфу)
4) Тема: Промежуточный вал (передний мост), Сообщение #509020, Автор: KLIG.
5) Тема: Промежуточный вал (передний мост), Сообщение #515911, Автор: netoka
6) 2-х рядный подшипник Тема: Промежуточный вал (передний мост), Сообщение #816525, Автор: Андрей 55
7) Обтачивание вала и изготовление прижимной шайбы. Чертеж. Автор keksoid
Обтачивание вала и изготовление прижимной шайбы. Чертеж. Автор kapgerСпособы демонтажа промвала
Тема: Промежуточный вал (передний мост), Сообщение #307157, Автор: Nikolay0812
Тема: Промежуточный вал (передний мост), Сообщение #383695, Автор: cayman
Тема: Промежуточный вал (передний мост), Сообщение #593728, Автор: netoka
Тема: Промежуточный вал (передний мост), Сообщение #597639, Автор: Serg73
Способы профилактики
- заливка масла в промвал Тема: Промежуточный вал (передний мост), Сообщение #838718, Автор: Gubkin . Чем гуще - тем лучше, т.к. выльется всё равно
- периодическая смазка шлицев промвала, замена сальника, подшипника


_

так если подходит можно ставить.