Особенности устройства и эксплуатации бензиновых двигателей, устанавливаемых на KIA SORENTO XM
marc-svoy
» 07 мар 2019, 22:50
Приветствую.как проверить исправность топливных насосов?. Хотя понятно тот что в левой стороне бака если авто работает и насос работает . А как проверить правый-перекачной? Как проверить датчики уровней топлива? Потому как при четверти бака сорик глохнет.
-
marc-svoy
 
-
- Сообщения: 13
- Зарегистрирован: 27 ноя 2018, 22:55
- Откуда: Балашиха, Московская область, микрорайон Железнодорожный
- Благодарил (а): 3 раз.
- Поблагодарили: 0 раз.
- Имя: Макс
- Автомобиль: Sorento XM, 2.4 (174 л/с), 4WD, AT
- Год выпуска: 2012
- Доп. информация: пробег 145000
syv
» 07 мар 2019, 23:37
marc-svoy писал(а): А как проверить правый-перекачной?
С какого там второй насос и второй датчик уровня?
-

syv
 
-
- Сообщения: 796
- Зарегистрирован: 05 июл 2011, 21:32
- Откуда: Ростов на Дону
- Благодарил (а): 65 раз.
- Поблагодарили: 66 раз.
- Имя: Юрий
- Автомобиль: Sorento XM, 2.4 (174 л/с), 4WD, MT
- Год выпуска: 2011
- Доп. информация: Аморт - перед патрон KYB 365076, зад "Kayba"; пружины H&R+25; 255/55/18; распорка, Чип тюн; Шумка .
marc-svoy
» 08 мар 2019, 00:22
как то так
-
marc-svoy
 
-
- Сообщения: 13
- Зарегистрирован: 27 ноя 2018, 22:55
- Откуда: Балашиха, Московская область, микрорайон Железнодорожный
- Благодарил (а): 3 раз.
- Поблагодарили: 0 раз.
- Имя: Макс
- Автомобиль: Sorento XM, 2.4 (174 л/с), 4WD, AT
- Год выпуска: 2012
- Доп. информация: пробег 145000
syv
» 08 мар 2019, 09:10
marc-svoy писал(а):как то так
Даа, датчика два, а насос один
- Вложения
-

-

syv
 
-
- Сообщения: 796
- Зарегистрирован: 05 июл 2011, 21:32
- Откуда: Ростов на Дону
- Благодарил (а): 65 раз.
- Поблагодарили: 66 раз.
- Имя: Юрий
- Автомобиль: Sorento XM, 2.4 (174 л/с), 4WD, MT
- Год выпуска: 2011
- Доп. информация: Аморт - перед патрон KYB 365076, зад "Kayba"; пружины H&R+25; 255/55/18; распорка, Чип тюн; Шумка .
marc-svoy
» 08 мар 2019, 09:36
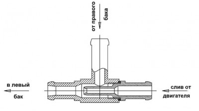
И как жижа перекачивается из правой половины бака?
-
marc-svoy
 
-
- Сообщения: 13
- Зарегистрирован: 27 ноя 2018, 22:55
- Откуда: Балашиха, Московская область, микрорайон Железнодорожный
- Благодарил (а): 3 раз.
- Поблагодарили: 0 раз.
- Имя: Макс
- Автомобиль: Sorento XM, 2.4 (174 л/с), 4WD, AT
- Год выпуска: 2012
- Доп. информация: пробег 145000
Ramb
» 08 мар 2019, 10:04
-

Ramb
 
-
- Сообщения: 5340
- Зарегистрирован: 23 сен 2012, 11:19
- Откуда: Мытищи
- Благодарил (а): 100 раз.
- Поблагодарили: 441 раз.
- Имя: Роман
- Автомобиль: Sorento XM, 2.2TD (197 л/с), 4WD, AT, 7 мест
- Год выпуска: 2011
- Доп. информация: пружины H&R, аморты передние MONROE G8406(7), аморты задние KYB 341716 , заглушен EGR, вырезан сажевик и катализатор, чипован
syv
» 08 мар 2019, 10:22
marc-svoy писал(а):И как жижа перекачивается из правой половины бака?
Физика...
- Вложения
-

-

syv
 
-
- Сообщения: 796
- Зарегистрирован: 05 июл 2011, 21:32
- Откуда: Ростов на Дону
- Благодарил (а): 65 раз.
- Поблагодарили: 66 раз.
- Имя: Юрий
- Автомобиль: Sorento XM, 2.4 (174 л/с), 4WD, MT
- Год выпуска: 2011
- Доп. информация: Аморт - перед патрон KYB 365076, зад "Kayba"; пружины H&R+25; 255/55/18; распорка, Чип тюн; Шумка .
...Михалыч!
» 08 мар 2019, 11:13
струйник -струйником ,но может сетка (31090-2D100) правого полубака забита...
-

...Михалыч!
 
-
- Сообщения: 1643
- Зарегистрирован: 08 дек 2014, 13:45
- Откуда: Минск
- Благодарил (а): 400 раз.
- Поблагодарили: 132 раз.
- Имя: Георгий
- Автомобиль: Sorento XM, 2.2TD (197 л/с), 4WD, AT
- Год выпуска: 2011
- Доп. информация: (было-68,5ткм, сейчас-370ткм),Valvoline SynPower 5w-40
Вернуться в Бензиновые двигатели (XM)
Кто сейчас на конференции
Сейчас этот форум просматривают: нет зарегистрированных пользователей и гости: 1