Лампы дневного света (DRL) в Sorento R

Re: Лампы дневного света (DRL) в Sorento R

Сообщение raptor » 25 июл 2013, 10:26

nikosan писал(а):все уже разжевано- в блоке предохранителей под капотом + подключается к клемме на которой появится плюс после пуска мотора.

разжеванно да не то видимо! не катит данный вариант для ДРЛ которые реагируют на ток зарядки!!!! у меня так-то все время на них ток подается, так как подключаются они на прямую к клемам, а включение происходит при запуске двигателя, реагируя на увеличение значения напряжения зарядки.
если на мои ДРЛ просто подать 12в, они единожды диагностически загораются на 3-4 сек. и тухнут.
у меня на предыдущем фокусе стояли Шоу-ми, так вот их да можно было запитать в блоке предохранителей (что и было сделано), так как они включалить просто при подаче на них 12в, а нынешние реагируют именно на увеличенное напряжение, а на сколько я понимаю (не претендую что это истина, но все же) в блоке предохранителей врядли получится найти 13.8 - 14в!!!???
Изображение
Аватара пользователя
raptor
 
 
Сообщения: 76
Зарегистрирован: 02 мар 2012, 19:00
Откуда: М.О., СВАО(алтуфьево)
Благодарил (а): 7 раз.
Поблагодарили: 2 раз.
Имя: Руслан
Автомобиль: Sorento XM, 2.2TD (197 л/с), 4WD, AT, 7 мест
Год выпуска: 2011

Re: Лампы дневного света (DRL) в Sorento R

Сообщение nikosan » 25 июл 2013, 14:09

у меня DRL Филипс/ и подключил к блоку предохранителей.
Все реально и возможно.Надо только верить.
nikosan
 
 
Сообщения: 724
Зарегистрирован: 20 авг 2011, 22:18
Откуда: Санкт Петербург
Благодарил (а): 0 раз.
Поблагодарили: 11 раз.
Имя: Николай
Автомобиль: Другая машина
Год выпуска: 2006
Доп. информация: Audi Q7 3.6 FSI

Re: Лампы дневного света (DRL) в Sorento R

Сообщение AnatolS_ » 12 авг 2013, 09:38

Установил вот такие DRL. Питание от зажигания. Когда включается ближний - DRL отключается.
Вложения
DRL_Sorento_2.jpg
DRL_Sorento_1.jpg
AnatolS_
 
 
Сообщения: 39
Зарегистрирован: 11 фев 2013, 09:30
Откуда: Киев
Благодарил (а): 0 раз.
Поблагодарили: 0 раз.
Имя: Анатолий
Автомобиль: Sorento XM, 2.2TD (197 л/с), 4WD, AT, 7 мест
Год выпуска: 2012

Re: Лампы дневного света (DRL) в Sorento R

Сообщение St.Paul » 12 авг 2013, 09:41

они ж вроде тусклые?
Аватара пользователя
St.Paul
 
 
Сообщения: 3654
Зарегистрирован: 16 май 2010, 17:57
Откуда: Москва, ЮЗАО
Благодарил (а): 2 раз.
Поблагодарили: 52 раз.
Имя: Павел
Автомобиль: Sorento XM, 2.2TD (197 л/с), 4WD, AT
Год выпуска: 2010
Доп. информация: Темно-синий перламутр
+ Новый SORENTO, 2.2 TD (197л/с), 4WD, AT, 7 мест
2011
Снежно-белый перламутр

Re: Лампы дневного света (DRL) в Sorento R

Сообщение AnatolS_ » 12 авг 2013, 10:00

St.Paul писал(а):они ж вроде тусклые?

По яркости конечно не самые мощные (сила света 500 кд, минимально разрешенная российским ГОСТом - 400 кд, украинские нормативы "молчат"), однако визуально - достаточно. Хорошие отражатели на рассеивателе. Угол решетки и сама установка на нее по таким же углом DRL немного направяет свет в сторону (влево/вправо), однако на встречке левую сторону видно очень отчетливо, а также с заднего зеркала и а на обочине правую. Проверял также визуально.
AnatolS_
 
 
Сообщения: 39
Зарегистрирован: 11 фев 2013, 09:30
Откуда: Киев
Благодарил (а): 0 раз.
Поблагодарили: 0 раз.
Имя: Анатолий
Автомобиль: Sorento XM, 2.2TD (197 л/с), 4WD, AT, 7 мест
Год выпуска: 2012

Re: Лампы дневного света (DRL) в Sorento R

Сообщение St.Paul » 12 авг 2013, 10:55

AnatolS_
у меня стояли такие. че то не понравилось, поэтому убрал потом.
Аватара пользователя
St.Paul
 
 
Сообщения: 3654
Зарегистрирован: 16 май 2010, 17:57
Откуда: Москва, ЮЗАО
Благодарил (а): 2 раз.
Поблагодарили: 52 раз.
Имя: Павел
Автомобиль: Sorento XM, 2.2TD (197 л/с), 4WD, AT
Год выпуска: 2010
Доп. информация: Темно-синий перламутр
+ Новый SORENTO, 2.2 TD (197л/с), 4WD, AT, 7 мест
2011
Снежно-белый перламутр

Re: Лампы дневного света (DRL) в Sorento R

Сообщение AnatolS_ » 12 авг 2013, 11:18

St.Paul писал(а):AnatolS_
у меня стояли такие. че то не понравилось, поэтому убрал потом.

Как-бы покупал только потому что неплохо вписывается в екстерьер, да и в Корее они насколько я понимаю, пользуются спросом как доп. прибор к Соренто. Правда и цена у него не совсем "бюджетная" [url](http://www.ebay.com/itm/DRL-Day-Light-P ... 014wt_1077)[/url].
Функцию свою выполняют, гостам соотвествуют. Если чего-то найду лучше - может тоже поменяю.
AnatolS_
 
 
Сообщения: 39
Зарегистрирован: 11 фев 2013, 09:30
Откуда: Киев
Благодарил (а): 0 раз.
Поблагодарили: 0 раз.
Имя: Анатолий
Автомобиль: Sorento XM, 2.2TD (197 л/с), 4WD, AT, 7 мест
Год выпуска: 2012

Re: Лампы дневного света (DRL) в Sorento R

Сообщение St.Paul » 12 авг 2013, 11:26

нифига себе сколько стоят. я их 2 года назад за 2,5 что ли покупал, когда в рф они стоили около 5.
Аватара пользователя
St.Paul
 
 
Сообщения: 3654
Зарегистрирован: 16 май 2010, 17:57
Откуда: Москва, ЮЗАО
Благодарил (а): 2 раз.
Поблагодарили: 52 раз.
Имя: Павел
Автомобиль: Sorento XM, 2.2TD (197 л/с), 4WD, AT
Год выпуска: 2010
Доп. информация: Темно-синий перламутр
+ Новый SORENTO, 2.2 TD (197л/с), 4WD, AT, 7 мест
2011
Снежно-белый перламутр

Re: Лампы дневного света (DRL) в Sorento R

Сообщение allhom » 05 сен 2013, 20:48

Господа!
Могу поделиться своими результатами по поиску и нахождению! Штатного DRL в Sorento R.

Авто 2011 г., ближний – ксенон, дальний – галоген. Судя по всему, как минимум в такой комплектации, как у меня, все-таки предусмотрено (но не активировано) штатное включение дневного света, роль которого в моем случае выполняет ближний ксенон.

Вариант подсмотрен на иностранном форуме (http://www.kia-forums.com/2011-2013-xm- ... ation.html), часть фото также взята оттуда. Там правда ДХО реализуется дальним светом в пол накала.

При активации DRL (он же ДХО), алгоритм его работы следующий.

1. При заводе двигателя (просто включения зажигания не достаточно) включается ближний (ксенон), при этом не горит больше ничего (ни габариты, ни подсветка в салоне).

2. При включении габаритов – ближний гаснет, включаются габариты, загорается подсветка в салоне. Далее все включается штатно: ПТФ, ближний, дальний (подсветка салона при этом горит).

3. Как только фары штатно выключаются (на ноль), все габариты, подсветка в салоне, ПТФ – гаснут и сразу включается ближний ксенон как ДХО.

Собственно активация штатного DRL.

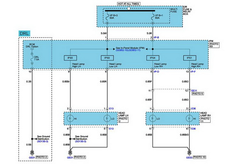
1. в блоке предохранителей под рулевой колонкой есть предохранитель (в моем случае №20), 7.5А. У меня он был штатно установлен.

01_.jpg

2. Согласно данной схеме

02_.jpg

он замыкает провод, выходящий из разъема, находящегося в этом же блоке, под №10, на землю.

03.jpg

Выглядит разъем так (на фото коннектор отключен):

04.JPG

3. Вынимаем из него коннектор и наблюдаем, что провод №10 как-раз отсутствует, т.е. цепь разорвана, DRL деактивирован.
05.jpg

4. В идеальном случае надо раздобыть маленькую клемму «мама», которая должна здесь стоять (на фото соседняя клемма, аналогичная отсутствующей),

06_.jpg

поставить ее с обжатым проводом на предназначенное для нее место в данном коннекторе, а второй конец провода заземлить в любом удобном месте.

После этих манипуляций DRL на Sorento XM начинает работать штатно вышеописанным способом.

Деактивация DRL осуществляется путем удаления вышеописанного штатного предохранителя и соответственно – разрыва смонтированной цепи.
Последний раз редактировалось allhom 06 сен 2013, 14:53, всего редактировалось 1 раз.
allhom
 
 
Сообщения: 10
Зарегистрирован: 30 авг 2011, 08:13
Благодарил (а): 0 раз.
Поблагодарили: 0 раз.
Имя: Александр
Автомобиль: Sorento XM, 2.4 (174 л/с), 4WD, AT, 7 мест
Год выпуска: 2011

Re: Лампы дневного света (DRL) в Sorento R

Сообщение jsver » 05 сен 2013, 20:57

allhom
всё работает как ты и описал
штатно
2012
jsver
 
 
Сообщения: 469
Зарегистрирован: 26 авг 2012, 22:03
Откуда: Моск. обл.
Благодарил (а): 12 раз.
Поблагодарили: 28 раз.
Автомобиль: Sorento XM, 2.2TD (197 л/с), 4WD, AT
Год выпуска: 2012

Re: Лампы дневного света (DRL) в Sorento R

Сообщение Gubkin » 05 сен 2013, 21:01

allhom писал(а):раздобыть маленькую клемму «мама»

должен подойти контакт от компьютерного блока питания, разъем на floppy
в теме установки круиз-контроля такие как раз колхозим :)
Аватара пользователя
Gubkin
 
 
Сообщения: 14241
Зарегистрирован: 25 май 2012, 11:08
Откуда: Самара
Благодарил (а): 1301 раз.
Поблагодарили: 1450 раз.
Имя: Саня
Автомобиль: Sorento BL, 2.5TD (170 л/с), TOD, AT
Год выпуска: 2008

Re: Лампы дневного света (DRL) в Sorento R

Сообщение allhom » 05 сен 2013, 21:15

Gubkin писал(а):должен подойти контакт от компьютерного блока питания, разъем на floppy
в теме установки круиз-контроля такие как раз колхозим :)

Спасибо, попробую найти

Добавлено через 2 минуты 28 секунд:
jsver писал(а):allhom
всё работает как ты и описал
штатно
2012

К сожалению не у всех, как видишь - у меня провод напрочь отсутствует. И не только у меня одного. Думаю, остальным будет полезно.
allhom
 
 
Сообщения: 10
Зарегистрирован: 30 авг 2011, 08:13
Благодарил (а): 0 раз.
Поблагодарили: 0 раз.
Имя: Александр
Автомобиль: Sorento XM, 2.4 (174 л/с), 4WD, AT, 7 мест
Год выпуска: 2011

Re: Лампы дневного света (DRL) в Sorento R

Сообщение Kuzay » 05 сен 2013, 21:20

allhom
А не подскажите, если у меня как раз так и работает (евросвет, ксенон), а как сделать эту функцию на ДХО? т.к. я не хочу чтобы светили фары все время, поэтому планирую поставить дополнительные ДХО.
Kuzay
 
 
Сообщения: 202
Зарегистрирован: 27 июл 2011, 19:45
Откуда: Москва
Благодарил (а): 4 раз.
Поблагодарили: 1 раз.
Имя: "Вадим"
Автомобиль: Sorento UM, 2.2TD (200 л/с), 4WD, AT, 7 мест
Год выпуска: 2016

Re: Лампы дневного света (DRL) в Sorento R

Сообщение allhom » 05 сен 2013, 21:41

Kuzay писал(а):allhom
А не подскажите, если у меня как раз так и работает (евросвет, ксенон), а как сделать эту функцию на ДХО? т.к. я не хочу чтобы светили фары все время, поэтому планирую поставить дополнительные ДХО.

Ну ваш ксенон уже работает как ДХО, как я понимаю. Если вы хотите все это дело отключить, то достаточно вынуть вышеупомянутый предохранитель.

А дальше прикрутить любой из понравившихся комплектов DRL на светодиодах.

Если вопрос о том, как питание и управление из штатного DRL вывести на внештатный дополнительный, то как по мне - никак. Штатный DRL имеет штатный блок управления, завязанный на штатную систему управления светом, лезть туда думаю не стоит.

Доп. DRL есть смысл подключать через специализированные контроллер DRL, которые уже упоминались в этой теме тут или Установка DRL
allhom
 
 
Сообщения: 10
Зарегистрирован: 30 авг 2011, 08:13
Благодарил (а): 0 раз.
Поблагодарили: 0 раз.
Имя: Александр
Автомобиль: Sorento XM, 2.4 (174 л/с), 4WD, AT, 7 мест
Год выпуска: 2011

Re: Лампы дневного света (DRL) в Sorento R

Сообщение St.Paul » 06 сен 2013, 08:04

allhom
ты прав но не на 100%. ДРЛ у тех у кого есть этот проводок работает в том числе с включенными габаритами, но без включения подсветки салона. я выдернул предохранитель потому что почему-то у меня аккумулятор не очень хорошо себя чувствовал в то время. выдернул - все стало идеально.
Аватара пользователя
St.Paul
 
 
Сообщения: 3654
Зарегистрирован: 16 май 2010, 17:57
Откуда: Москва, ЮЗАО
Благодарил (а): 2 раз.
Поблагодарили: 52 раз.
Имя: Павел
Автомобиль: Sorento XM, 2.2TD (197 л/с), 4WD, AT
Год выпуска: 2010
Доп. информация: Темно-синий перламутр
+ Новый SORENTO, 2.2 TD (197л/с), 4WD, AT, 7 мест
2011
Снежно-белый перламутр

Пред.След.

Вернуться в Ксенон и пр. освещение

Кто сейчас на конференции

Сейчас этот форум просматривают: нет зарегистрированных пользователей и гости: 1

cron