Клуб любителей автомобилей KIA SORENTO
Пропустить
Расширенный поиск
Список форумов
‹
Альбомы
‹
Личные альбомы
‹
Личный альбом пользователя allhom
Изменить размер шрифта
FAQ
Альбомы
PDA версия
Правила форума
Регистрация
Вход
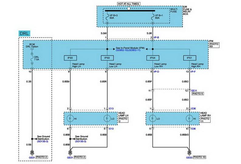
DRL PIC 02
След.
Пред.
Подробности
Автор:
allhom
Заголовок:
DRL PIC 02
Описание изображения:
BBcode изображения:
[album]4293[/album]
Добавлено:
05 сен 2013, 20:18
Просмотров:
188
Оценка
Оценка:
не оценено
Комментарии
Комментарии:
Комментариев ещё нет
Powered by
phpBB Gallery
&
nickvergessen